未相景觀丨竹之即興——涉趣廊

在嘉定古城以北的豐德園內,我們建造了一個竹構廊架,它成了躲藏在這座精致的蘇式園林中最隨性的場景。
業主是嘉定當地一位知名企業家,幾年前開始建造自己的私家園林“豐德園”。在園林的東北部,有一處水閘,聯系著園林內部水與外部的水系,水閘上覆蓋了混凝土板,業主起初并未想好要做什么,但似乎又覺需要點綴一處景點,于是請我考慮設計。這個位置跨于水系之上,西南側是大假山,東側是一片竹林,位置較為隱蔽,卻又是水系收頭處。

△位置圖

△總平面圖

△“轉過這芍藥欄前,緊靠著湖山石邊。和你把領扣松,衣帶寬,袖梢兒揾著牙兒苫也,則待你忍耐溫存一晌眠。”——牡丹亭唱詞
不管是《紅樓夢》里的司棋與表弟在假山里偷情,還是《牡丹亭》里杜麗娘和柳夢梅山石邊的溫存。都告訴我們園林里除了琴棋書畫詩酒花,還應該有即興所起的情欲。這樣的場景在中國的繪畫里比比皆是。所以我打算在這里即興一下。

場地邊的竹子提示我它是一個最適合表達這種“即興”的材料。竹構物有限的耐久性表現出了一種“臨時”,竹子的韌性也能在形態上提供“即興”的可能。我們做了一個竹廊架,因為左右兩處正好是假山和修竹,都是高的,這時候立面處理成一個橫向謙遜的姿態最為合適。平面形態則更自由,一頭寬,一頭窄,中間處最寬,屋脊是一道弧線。窄的一頭對接竹林步道,寬的一頭恰好與假山銜接——將湖石延伸至廊子內,好似山之余脈入室,使得構筑物與湖石假山的關系更為自然、融洽。加之這個位置南北臨水,空間上又因假山和竹林形成了一條天然的風道,即便是炎炎夏日,舒展的屋面遮蔽了直射的陽光,南邊透過水面吹來的習習微風也使這個竹廊成為一個消夏勝地。







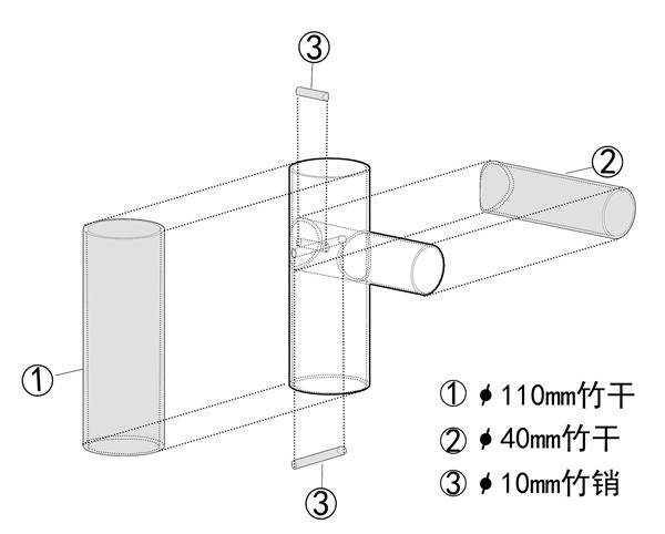
竹廊的結構由兩排平面弧形布置的立柱,垂直支撐起屋架,立柱與屋架的竹椽子之間加斜撐穩固。屋面是由竹絲鋪制,竹絲與屋架竹椽之間以窄竹片緊密排布充當望板,這樣很好的解決了由于弧形曲面屋頂導致不適合用規則望板的問題。所有節點均是開孔穿插加竹銷連接。內部除了沿扶手增加了座椅,并沒有明確其他功能。這也回應了我們的初衷,在一個幾乎被完全安排好每個使用功能的園子里即興的預留出一個隨性的場所。

△設計生成

△軸側

△結構體系

△節點1

△節點2

△節點3

△節點4
項目信息
項目名稱:涉趣廊
項目地點:上海嘉定
占地面積:15平方米
設計單位:未相景觀
主持建筑師:郭文
設計團隊:張譯文、趙霜悅(實習)
設計/建造時間:2017.1 / 2018.06
結構形式:竹結構
主要用材:毛竹
攝影師:吳清山
編輯:liqing
相關閱讀
江蘇揚州:今年實施五大攻堅行動提升城市綠化
城市道路綠化增綠行動。利用今年春季綠化黃金季節,針對城市道路綠化達標率、林蔭路覆蓋率等指標,全面開展道路綠化增綠提綠補綠,重點對87條道路的行道樹“有綠無蔭、有景少蔭”、綠化品種單一等問題進行整改,形成配置合理、錯落有致、層次清晰的道路綠化景觀【詳細】
北京昌平新城東區將打造濱水商業消費新地標
昌平新城東區位于昌平區南邵鎮,規劃建設用地面積11平方公里,規劃人口12萬,圍繞打造首都北部消費新地標編織街區控規已獲批。未來,昌平新城東區將打造成為京北體驗消費示范區、山水宜居典范城區、高水平綜合服務承載區和智慧產研創新園區【詳細】
南寧園博園舉辦“禮樂園博·南寧花朝盛典”
活動期間,南寧園博園還舉辦了漢服新秀大賽、同袍巡游、及笄成人禮、國風婚禮妝照展示、明制婚禮儀式典禮、六藝游園、書畫體驗、國風集市等精彩紛呈的活動,同時邀請眾多知名國風模特參與表演展示【詳細】
成都首屆“最美公園”評選結果出爐
據成都市公園城市建設管理局相關負責人介紹,本次“最美公園”評選范圍包括23個區(市)縣已建成開放的1514個公園,包括綜合公園、口袋公園,還有郊野公園【詳細】



